博飛TDJ2Z自準直光學經緯儀(已停產)

■ X型長擺式豎盤指標自動補償器,具有良好的抗高頻振動性能
■ 彩色讀數視場,使讀數方便、舒適清晰
■ 垂直角度及水平角度用光學測微器可直讀到1′或1cc
■ 望遠鏡采用正、倒像兩種,可配通用基座
■ 空氣阻尼結構,穩定可靠
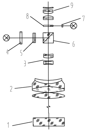
- 自準直原理:分劃板5的十字線經立方棱鏡6反射至望遠物鏡,發射出去,光線被反射鏡1反射回來,經過望遠鏡和立方棱鏡將十字線成像在視距板8上,與視距板上的十字線重合,實現自準直。
自準直測量:
■ 將經緯儀整平對中;
■ 調節望遠鏡目鏡使視距板分劃清晰;
■ 調節望遠鏡調焦鏡筒,將望遠鏡調焦到無窮遠位置;
■ 夜間觀測時可接通電源,照明視距板;
型號
TDJ2Z
測量范圍
0o- 360o
一測回水平方向標準偏差
2″
一測回垂直角測量標準偏差
6″
望遠鏡
成像
倒像
放大倍數
28X
物鏡有效口徑
40mm
視場角
1°30′
最短視距
2m
視距乘常數
100
視距加常數
0
鏡筒長
172mm
水準器
長水準器
20″/2mm
圓水準器
8′/2mm
度盤和光學測微器
度盤刻劃形式
全圓:360°或者400g
水平度盤分劃直徑
90mm
水平度盤分劃值
20c
豎直度盤分劃直徑
70mm
豎直度盤分劃值
20c
光學測微器分劃值
1″或1cc
讀數顯微鏡
水平系統放大率
45.80X
垂直系統放大率
58.80X
豎盤指標自動補償器
工作范圍
±2′
安置誤差
±0.3″
工作電壓
6v
光學對點器
放大倍數
3X
視場角
5o
調焦范圍
0.5m~∝
儀器規格
儀器凈重
6.0kg
儀器橫軸中心高
221mm
儀器體積
310mm×160mm×148mm
- 博飛TDJ2Z自準直光學經緯儀可選配:經緯儀三腳架
更多相關
博飛DJD-JC系列激光電子經緯儀
■ 電子經緯儀與激光器的完美結合,可提供激光指向功能■ 大屏幕大按鍵,全中文操作界面,易學易用■ ...
博飛DJD-C(E)系列電子經緯儀
■ 國內電子經緯儀精品,適合大部分外業測繪■ 大屏幕大按鍵,全中文操作界面,易學易用■  ...
博飛DJDM-1系列電子經緯儀
■ 采用絕對編碼測角技術,開機無需過零操作,斷電自動保存角度值 ■ 大屏幕大按鍵,全中文操作界面,易學易用■ &...
博飛DJD2Z系列自準直電子經緯儀
■ 最短視距0.5m,便于狹小空間測量■ 利用絕對編碼測角,精度高,穩定■ 屏幕時鐘顯示■&nbs...
博飛TD-1EA光學經緯儀
■ 高精度經緯儀,精度±0.8"■ X型長擺式豎盤指標自動補償器,具有良好的抗高頻振動性能■ 彩色讀數視場,使讀數方便、舒適清晰■ 垂直角度及水平角度...
博飛DJJ2-2激光光學經緯儀
■ 采用一體化設計,攜帶方便■ 可正、倒鏡工作,方便測量■ 儀器備有多種附件,滿足各種場合的測繪需要■ 儀器關閉電源開關后,可作普通經緯儀使用■ 儀器...
博飛TDJ2/TDJ2E光學經緯儀
■ X型長擺式豎盤指標自動補償器,具有良好的抗高頻振動性能■ 彩色讀數視場,使讀數方便、舒適清晰■ 垂直角度及水平角度用光學測微器可直讀到1′或1cc■ 望遠鏡...
博飛TDJ6/TDJ6E光學經緯儀
■ X型長擺式豎盤指標自動補償器,具有良好的抗高頻振動性能■ 彩色讀數視場,使讀數方便、舒適清晰■ 垂直角度及水平角度用光學測微器可直讀到1′或1cc■ 望遠鏡...











環球測繪微信